CASOLARE INDIPENDENTE SU TRE LIVELLI A CIVITANOVA

CASOLARE INDIPENDENTE SU TRE LIVELLI A CIVITANOVA

In vendita
Rustico/Casale
Civitanova Marche
Descrizione
Con la possibilità di formulare offerta pari a 44.925,00 € proponiamo in vendita questo casolare indipendente con ampia corte circostante di tre piani fuori terra costruito nel 1800 e ristrutturato nel 2001 attualmente allo stato grezzo.

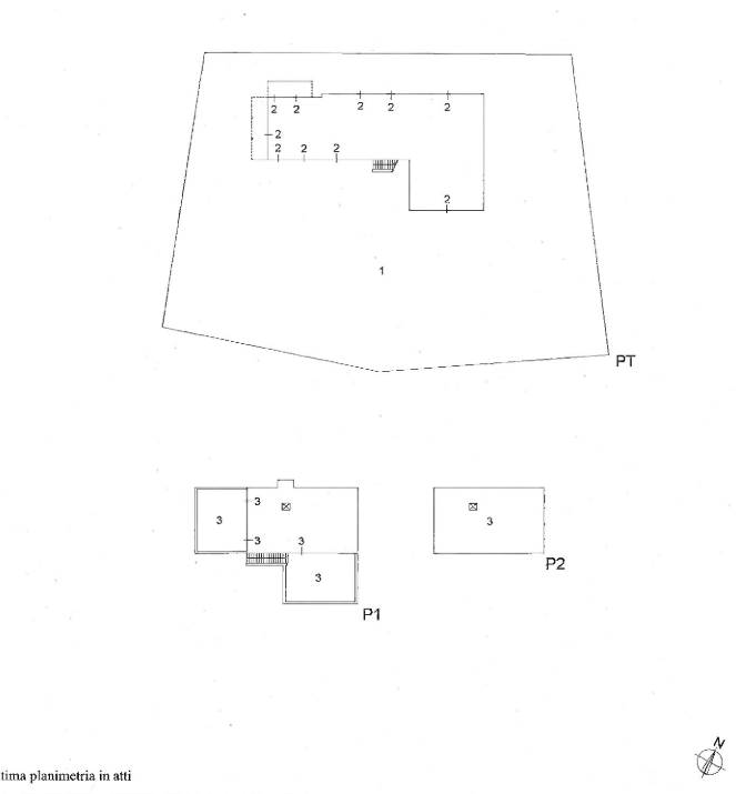
L’immobile oggetto d’asta è ubicato nel comune di Civitanova Marche (MC) in via Molino n. 15, trattasi di un immobile al grezzo. La costruzione si eleva per tre piani fuori terra ed è libero su tutti i lati. La struttura portante verticale è in muratura di mattoni, le strutture orizzontali sono in parte in latero-cemento e in parte in legno. Tetto con copertura di tipo a capanna. Esternamente i prospetti sono a faccia-vista di mattoni. Internamente la struttura è completamente al grezzo e pertanto priva di qualsivoglia finitura e impianti. La strada di accesso all'immobile è di tipo imbrecciata e costeggiata da una serie di alberi di ulivo.

Le superfici in vendita possono essere così riassunte:

-ABITAZIONE AL GREZZO 386 MQ

-TETTOIE 25 mq

-TERRAZZI 110 mq

-SOFFITTA 112 mq

Per un totale di 635 mq totali e una superficie commerciale di 479 mq.

Considerate le metrature a disposizioni, la posizione panoramica del casolare, le potenzialità di sviluppo della struttura e l’estrema competitività del prezzo rispetto il mercato di riferimento, riteniamo che la soluzione sia un ottimo investimento in termini abitativi con interessanti prospettive di redditività nel breve come nel lungo periodo.

Vieni a trovarci in agenzia per consultare la documentazione tecnica a nostra disposizione e per ricevere una prima analisi dedicata dell’immobile.

CASA&ASTE.IT offre assistenza e consulenza in ogni fase della vendita in asta:

-analisi tecnico-legale della perizia;

-quantificazione dei costi aggiuntivi in asta;

-valutazione commerciale dedicata all’immobile;

-richiesta di sopralluogo;

-formulazione offerta;

-partecipazione all’asta;

-assistenza sino al trasferimento di proprietà e alla consegna delle chiavi

…..con noi…la tua asta senza pensieri e senza sorprese.
Caratteristiche principali
Codice:
214/2019 1 MC
Città:
Civitanova Marche
Categoria:
Rustico/Casale
Locali:
6,5
Mq:
479
Terrazzi:
2
mq Terrazzo:
110
Anno:
1800
Anno ristrutturazione:
2001
Classe energetica:
Non classificabile
Stato Immobile:
Da Ristrutturare
Grado:
Medio
Posizione:
Campagna
Panorama:
Vista Aperta
Orientamento:
Est
Lati Liberi:
4
Giardino:
Privato
Accessori
Ingresso Indipendente
Mappa
C.DA MOLINO, 15 - Civitanova Marche (MC)
Distanze
Posizione
Mare2,8 km
Asta giudiziaria
Mancano
42 giorni
alla chiusura della vendita
Richiedi visione
Invia
WhatsApp Casa&Aste
Cookie preference